Loading...
¥ 人民币
¥ 人民币
$ USD
€ 欧元
中文
Русский
中文
English
+8613520127528
商户中心
商户登录
商户注册
运动户外
露营垂钓配件
运动户外
山地、野营用品
垂钓装备精选
运动户外
垂钓用品
家装建材
卧室家具
卧室家具
客厅家具
客厅家具
3C 数码
智能设备
智能设备
数码产品
数码产品
美妆个护
家居生活
家纺家饰
家纺家饰
居家布艺
居家布艺
地毯地垫
地毯地垫
宠物园艺
猫狗用品
猫狗用品
盆栽盆景
盆栽盆景
益智玩具
益智科教玩具
益智科教玩具
模型玩具
模型玩具
最新商品
登录/注册
菜单
运动户外
露营垂钓配件
运动户外
山地、野营用品
垂钓装备精选
运动户外
垂钓用品
家装建材
卧室家具
卧室家具
客厅家具
客厅家具
3C 数码
智能设备
智能设备
数码产品
数码产品
美妆个护
家居生活
家纺家饰
家纺家饰
居家布艺
居家布艺
地毯地垫
地毯地垫
宠物园艺
猫狗用品
猫狗用品
盆栽盆景
盆栽盆景
益智玩具
益智科教玩具
益智科教玩具
模型玩具
模型玩具
最新商品
热门搜索
连衣裙
运动鞋
T恤
牛仔裤
时尚
潮流
可爱童装
瑜伽健身服
热门产品
加入购物车
自营
亿觅相机女孩可拍照可打印男孩拍立得数码宝宝生日礼物库洛米玩具
请
登录
以查看价格
加入购物车
自营
平台会员年度服务费
请
登录
以查看价格
加入购物车
自营
出海战略一对一深度咨询
请
登录
以查看价格
加入购物车
美尚生活精品店
31242新款半框眼镜防蓝光眉毛近视镜斯文理工男韩版小框商务眼镜
请
登录
以查看价格
加入购物车
自营
乐立方立体拼图世界名建筑摆件模型房屋拼插益智科教玩具文创热销
请
登录
以查看价格
首页
美容护肤
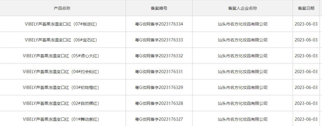
VIBELY果冻变色唇膏 唇部护理芦荟不掉色七色滋润保湿温变口红
VIBELY果冻变色唇膏 唇部护理芦荟不掉色七色滋润保湿温变口红
请
登录
以查看价格
库存:
有货
缺货
SKU:
{{ product.sku }}
型号:
{{ product.model }}
重量:
{{ product.weight }} 千克
{{ variable.name }}
: {{ variable.values[selectedVariantsIndex[variable_index]].name }}
{{ value.name }}
数量:
加入购物车
立即购买
加入收藏夹
自营
商品详情
Nginx 服务器需要配置伪静态规则,点击
查看配置方法